金剛石滾輪在CBN砂輪修整中的應用
1 .金剛石滾輪的特點及應用
金剛石滾輪是一種新發展起來的修整工具,它與單顆粒金剛石筆修整砂輪相比, 在進行非直線修整時其修整時間要短得多, 且易修整出各種復雜的成形表面。金鋼石滾輪修整砂輪的方法分為切入式滾輪修整和擺式滾輪修整, 因切入式修整器結構比擺式修整器簡單, 故在實際生產中應用較多一些。切入式滾輪修整中,與外圓切入磨削工件相似,滾輪由電機驅動旋轉,相對砂輪做切入運動,從而進行砂輪修整。表征滾輪切入式修整的主要參數有:修整速比qd 、修整進給量及光修轉數。下面介紹切入式金剛石滾輪修整器在HSQB885. 4 溝道磨削中的應用。
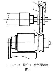
HSQB885. 4 為大型四點接觸球軸承,其溝形成桃形溝道(如圖1 所示) , 利用現有的TM1 500落地磨床替代立式磨床磨削其溝道, 并設計TM1 500 金剛石滾輪修整器。該修整器主要工作原理如圖2 所示。



支架固裝于機床床身前部, 底座安裝在支架上, 并能在縱、橫兩個方向進行調節,滾輪軸為套筒式主軸,采用兩套角接觸球軸承構成的二支承軸系結構, 主軸的傳動采用多楔帶傳動,平穩、可靠。驅動電機為輕型鋁殼無線調速電機,采用無級調速電機是為了保證滾輪與砂輪之間線速度之比值qd 保持在一定的范圍內。因為隨著砂輪的消耗,其線速度降低,這時就需要適當調低滾輪的轉速,從而獲得最佳修整效果。將修整的切入進給改為砂輪進給,修整時滾輪不動,利用原機床砂輪進給的手搖機構, 手動進給來實現修整的切入運動。圖2 為磨削外溝時滾輪與砂輪位置示意圖, 如磨削內溝可將滾輪調至工件正對面(圖3) ,這樣修整時更方便。
還可以采用砂輪不動, 滾輪進給的方式進行修整, 這時修整器的結構較復雜, 即采用直線導軌、滾珠絲杠、步進電機等,可將滾輪修整動作設計成簡易數控系統, 其動作程序設計為:快進(不能碰上砂輪) →慢進(按需要的切入速度進給) →光修→退出。

2. 注意事項
由于金剛石滾輪成形修整法具有修整時間短、能修整出各種復雜型面、型面精度保持好、修整操作方便等特點, 其使用效果已逐漸得到人們的認可, 在生產中也得到了越來越廣泛的應用。但在滾輪的設計、制造與使用中應注意如下幾點:
(1) 金剛石的粒度較被修整砂輪的粒度應粗一號,還要選擇金剛石顆粒尺寸接近一致,顆粒形狀近似球形,常用粒度為36 # ~100 # 。
(2) 通常采用滾輪與砂輪接觸點處線速度方向同向、滾輪線速度與砂輪線速度之比( qd 值) 取+ 0. 3~ + 0. 7 較好,不得超過+ 1;修整時滾輪切入量以砂輪每轉切入0. 5~1 μm 為宜,每次修整砂輪的總量應為0. 02~0. 04 mm;光修時間盡量壓縮。
(3) 金剛石滾輪的制造誤差應小于工件公差的1/ 2 左右,滾輪孔與安裝軸承的配合間隙為2~4 μm。
(4) 可采用天然或人造金剛石,人造金剛石必須采用高強度等級鉆石,如磨鋼專用金剛石SCD或高強度金剛石SMD。
(5) 滾輪制造時,一般精度的滾輪可用外鍍法和燒結法,高精度和復雜型面滾輪應用內鍍法制造,同時進行磨削修整。
(6) 金剛石滾輪修整砂輪時必須遵守快進(不能碰上砂輪) →慢進(按需要的切入速度進給) →光修→退出的動作程序,不得錯步,否則滾輪壽命難以保證。
網友推薦
- 湖南興大非標磨具專屬定制——CBN砂...
- 2017年中國品質最好的砂輪...
- 湖南專業生產CBN砂輪的公司——湖南...
- 磨削燒傷原因解析...
- 興大精英游張家界...
- 湖南興大CBN(立方氮化硼)磨具結合劑...
- 立方氮化硼磨軸承平面CBN金屬砂輪最...
- 砂輪質量問題會帶來哪些危害...
- 湖南興大成功參展2016第九屆中國數控...
- 粗磨、拋光組合砂輪同臺設備“加工...
今日話題
-
打磨不銹鋼用什么砂輪
我們在打磨不銹鋼材的時候需要用到...
-
金剛石砂輪具有哪些特征及用途
由于現在金剛石砂輪工具應用廣泛,...
-
砂輪日常常見問題及解決方法歸納
1、砂輪的線速度過大 問題:砂輪軸...
-
那山、那水、那時光——興大精英貴州之旅
為了增強公司員工的團隊意識,讓員...
-
岳麓山“團隊致勝”爬山活動報道
秋高氣爽,正是登高遠足的好季節。...
-
興大公司參加在青島舉行的第21屆國際機床展覽會
2018年8月2日至8月6日,興大公司參加...
-
興大公司參展第十屆中國數控機床展覽會
2018年4月9日,由中國機床工具工業協...
-
湖南興大參加第十九屆DMP東莞國際模具、金屬加
2017年11月28日至12月1日,湖南興大受...
-
興大精英游張家界
11月是金色的豐收的季節,也是公司...
-
湖南興大參展2017第十五屆中國數控機床展覽會
2017年4月17日至4月22日湖南興大公司在...


















